詳細內容:V230D04自力式壓差調節閥 產品說明
V230D04/V231D04自力式壓差調節閥屬于自力式調節閥,該閥適用于非腐蝕性的液體、氣體和蒸汽,在系統管道中的壓差控制,當壓差升高時,控制閥開啟。
V230D04自力式壓差調節閥 產品特點如下:
1、具有壓力平衡功能,靈敏度高。
2、低噪音,性能可靠,免于維護。
3、采用標準模塊化設計。
4、通過組合件,可以進行多項組合控制。
V230D04自力式壓差調節閥 產品性能參數
公稱通徑公稱壓力法蘭標準閥體材料閥芯材料硬密封軟密封壓力平衡
|
V230D04自力式壓差調節閥閥體 |
|
DN15、20、25、32、40、50、65、80、100、125、150、200、250mm |
|
PN1.6、4.0MPa |
|
ANSI、JIS、DIN、GB、JB(特殊可按用戶提供) |
|
鑄鐵(HT200)、鑄鋼(ZG230-450)、鑄不銹鋼(ZG1Cr18Ni9Ti、ZG1Cr18Ni12Mo2Ti) |
|
不銹鋼(1Cr18Ni9Ti、1Cr18Ni12Mo2Ti) |
|
不銹鋼鑲嵌橡膠圈 |
|
不銹鋼波紋管(DN15~125)、平衡膜片(DN150) |
有效面積(cm2)壓力設定范圍(MPa)保證壓力閥正常工作的最小壓差△Pmin(MPa)允許上下膜室之間最大壓差(MPa)材料控制管線、接頭
|
V230D04自力式壓差調節閥執行器 |
|
80 |
250 |
630 |
|
0.1~0.5 |
0.015~0.12 |
0.005~0.035 |
|
0.05~0.25 |
0.01~0.06 |
|
≥0.04 |
≥0.01 |
≥0.005 |
|
1.25 |
0.4 |
0.15 |
|
膜蓋:鋼板鍍鋅; 膜片:EPDM或FKM夾纖維 |
|
銅管或鋼管10×1; 卡套式接頭:R1/4" |
設定值偏差允許泄露量(在規定實驗條件下)硬密封軟密封
|
V230D04自力式壓差調節閥性能 |
|
±8% |
|
4×0.01%閥額定容量 |
|
DN15~50 |
DN65~125 |
DN150~250 |
|
10氣泡/min |
20氣泡/min |
40氣泡/min |
公稱通徑密封型式硬密封軟密封
|
V230D04自力式壓差調節閥允許工作溫度 |
|
15 ~125mm |
150~250mm |
|
≤150℃ |
≤140℃ |
|
冷卻罐≤200℃ |
冷卻罐和加長件≤200℃ |
|
冷卻罐和散熱片≤350℃ ※ |
冷卻罐和加長件≤300℃ ※ |
|
≤150℃ |
|
注:※表示該閥允許工作溫度,僅當介質為蒸汽時有效,且耐溫至350℃需選用PN40的閥體。 |
公稱通徑DN額定流量系數KvS噪音衡量系數Z值允許壓差(Mpa)PN16PN40
|
V230D04自力式壓差調節閥額定流量系數、噪音衡量系數、允許壓差 |
|
15 |
20 |
25 |
32 |
40 |
50 |
65 |
80 |
100 |
125 |
150 |
200 |
250 |
|
4 |
6.3 |
8 |
16 |
20 |
32 |
50 |
80 |
125 |
160 |
280 |
320 |
400 |
|
0.6 |
0.6 |
0.6 |
0.55 |
0.55 |
0.5 |
0.5 |
0.45 |
0.4 |
0.35 |
0.3 |
0.2 |
0.2 |
|
1.6 |
1.5 |
1.2 |
1.0 |
|
2.0 |
|
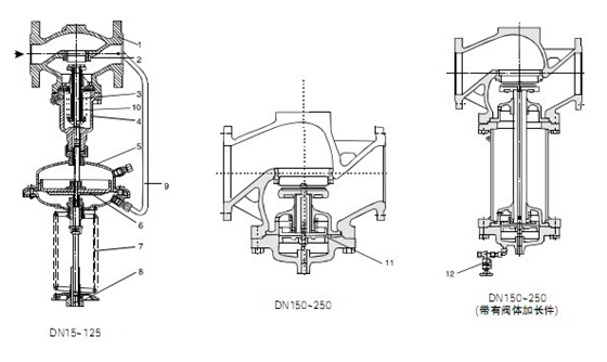
V230D04自力式壓差調節閥結構簡圖 |
|

|
|
閥體 |
閥座 |
閥芯 |
閥軸 |
膜蓋 |
膜片 |
|
彈簧 |
調節螺母 |
導壓管 |
波紋管 |
平衡膜片 |
充注閥 |
|
V230D04自力式壓差調節閥工作原理 |
|
工藝介質通過閥節流后,進入被控設備,而被控設備的差壓,分別引入閥的上、下膜室,在上、下膜室內產生推力,并與彈簧反力相平衡,從而確定了閥芯與閥座的相對位置,而閥芯與閥座的相對位置確定了差壓值△P的大小。當被控差壓變化時,力的平衡被破壞,從而帶動閥芯運動,而閥芯的運動改變了閥的阻力系數,即控制了被控差壓值為設定值。這就是差壓控制的工作原理。
當需要改變差壓設定值時,可調整調節螺母。 |
V230D04自力式壓差調節閥 產品零部件材料
零件名稱材料
|
V230D04自力式壓差調節閥零部件材料 |
|
閥體 |
鑄鋼(ZG230-450)、鑄不銹鋼(ZG1Cr18Ni9Ti、ZG1Cr18Ni12Mo2Ti) |
|
閥芯材料 |
硬密封 |
不銹鋼(1Cr18Ni9Ti、1Cr18Ni12Mo2Ti) |
|
軟密封 |
不銹鋼鑲嵌橡膠圈 |
|
壓力平衡元件 |
不銹鋼波紋管(DN15~125)、平衡膜片(DN150~250) |
|
閥座 |
CF8、CF8M |
|
閥桿 |
304、316 |
|
膜蓋 |
鋼板鍍鋅 |
|
膜片 |
EPDM或FKM夾纖維 |
V230D04自力式壓差調節閥 產品外形及結構尺寸
DN(mm)L(mm)B(mm)重量(kg)B1(mm)重量(kg)
|
V230D04自力式壓差調節閥外形尺寸一、控制閥尺寸及重量 |
|
15 |
20 |
25 |
32 |
40 |
50 |
65 |
80 |
100 |
125 |
150 |
200 |
250 |
|
130 |
150 |
160 |
180 |
200 |
230 |
290 |
310 |
350 |
400 |
480 |
600 |
730 |
|
212 |
212 |
238 |
238 |
240 |
240 |
275 |
275 |
380 |
380 |
326 |
354 |
404 |
|
6.2 |
6.7 |
9.7 |
13 |
14 |
17 |
29 |
33 |
60 |
70 |
80 |
140 |
220 |
|
- |
- |
- |
- |
- |
- |
- |
- |
- |
- |
630 |
855 |
1205 |
|
- |
- |
- |
- |
- |
- |
- |
- |
- |
- |
140 |
210 |
300 |
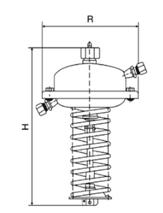
有效面積(cm2)R(mm)H(mm)重量(Kg)
|
二、執行器尺寸及重量 |
|

|
|
32 |
80 |
250 |
630 |
|
172 |
172 |
263 |
380 |
|
435 |
430 |
470 |
520 |
|
7.5 |
7.5 |
13 |
28 |
V230D04自力式壓差調節閥 產品外形及結構尺寸示意圖

注意:此產品頁面含有的文字、數據、圖片均只提供參考,V230D04自力式壓差調節閥具體的產品說明、性能參數、產品材料、外形結構尺寸參數、報價等詳情資料,請聯系我們銷售部或技術部。電話:0577-57993331 57993332 57993338