詳細內容:G46J直通式襯膠隔膜閥用途
G46J直通式襯膠隔膜閥專用于控制非腐蝕性或一般腐蝕性介質,閥體內腔表面無襯里或覆有可供選擇的各種橡膠、適用于不同工作溫度和液體管路。適用溫度:≤85℃、≤100℃、≤120℃、≤150℃(按照襯里和隔膜材料)。壓力等級:PN(MPa) 0.6 1.0 1.6
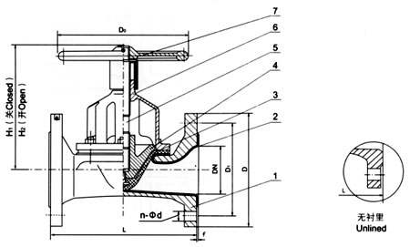
G46J直通式襯膠隔膜閥材料
閥體:鑄鐵、球墨鑄鐵、碳鋼、不銹鋼
閥蓋:鑄鐵、球墨鑄鐵、碳鋼、不銹鋼
襯里:無襯里、橡膠
隔膜:橡膠
閥瓣:鑄鐵、碳鋼
閥桿:碳鋼、不銹鋼
手輪:鑄鐵
G46J直通式襯膠隔膜閥測試
襯里層:電火花檢測
試驗與檢驗按BS6755標準
公稱壓力:PN(MPa)
閥體:PN×1.5
密封:PN×1.1
G46J直通式襯膠隔膜閥結構特點
直通式隔膜閥是一種特殊形式的截斷閥:
1.彈性密封的開閉件,確保沒有內漏;
2.流線型的流道,使得壓力損失。
3.沒有填料函,因此沒有外漏;
4.閥體與蓋被中間隔膜隔開,使得隔膜上方的閥蓋,閥桿等零件不受介質侵蝕;
5.隔膜可更換,維護費用低;
6.襯里材料的多樣性,可適用于各種介質,并具有強度高、耐腐蝕性能好的特點。
G46J直通式襯膠隔膜閥技術規范
|
計規范 |
結構長度 |
連接法蘭 |
試驗與檢驗 |
產品標識 |
供貨規范 |
|
GB/T 12239 |
GB/T 12221/BS5156 |
JB/T78 BS4504 |
GB/T 13927 |
BS 12220 |
JB/T 7928 |
G46J直通式襯膠隔膜閥主要零部件材料
|
序號
|
零件名稱
|
灰鑄鐵 |
鑄鋼 |
不銹耐酸鑄鋼 |
超低碳不銹耐酸鑄鋼 |
|
Z |
C |
P |
R |
PL |
PL |
|
1 |
閥體/閥蓋 |
HT250 |
WCB |
CF8 |
CF8M |
CF3 |
CF3M |
|
2 |
閥瓣/閥桿 |
HT250 |
1Cr13 |
1Cr18Ni9Ti |
1Cr18Ni12Mo2Ti |
00Cr18Ni10 |
00Cr17Ni14Mo2 |
|
3 |
襯里/閥座 |
天然膠(Natural rubber)、丁基膠(Isobutylene-isoprene rubber)、PTFE(F4)、FEP(F46) |
|
4 |
隔膜 |
橡膠、氟塑料 Rubber, fluoro plastic |
|
5 |
手輪 |
HT250 |
G46J直通式襯膠隔膜閥主要尺寸及重量
|
公稱壓力 |
工作壓力 |
通徑 |
L |
D |
D1 |
N-φd |
F |
H1 |
H2 |
D0 |
重量 |
|
mm |
inch |
|
0.6 |
0.6 |
20 |
3/4 |
117 |
105 |
75 |
4-14 |
2 |
150 |
150 |
120 |
|
|
25 |
1 |
127 |
115 |
85 |
4-14 |
2 |
150 |
150 |
120 |
3.5 |
|
32 |
11/4 |
146 |
140 |
100 |
4-18 |
2 |
152 |
152 |
120 |
5 |
|
40 |
11/2 |
159 |
150 |
110 |
4-18 |
2 |
152 |
152 |
120 |
6 |
|
50 |
2 |
190 |
165 |
125 |
4-18 |
2 |
163 |
163 |
230 |
8.5 |
|
65 |
21/2 |
216 |
185 |
145 |
4-18 |
2 |
205 |
205 |
230 |
16 |
|
80 |
3 |
254 |
200 |
160 |
8-18 |
2 |
220 |
220 |
280 |
22 |
|
100 |
4 |
305 |
220 |
180 |
8-18 |
3 |
262 |
262 |
280 |
32 |
|
0.6 |
125 |
5 |
356 |
250 |
210 |
8-18 |
3 |
290 |
290 |
368 |
43.5 |
|
150 |
6 |
406 |
285 |
240 |
8-22 |
3 |
368 |
368 |
483 |
65 |
|
200 |
8 |
521 |
340 |
295 |
8-22 |
3 |
410 |
410 |
483 |
112.5 |
|
0.4 |
250 |
10 |
635 |
395 |
350 |
12-22 |
5 |
479 |
479 |
560 |
192.5 |
|
300 |
12 |
749 |
445 |
400 |
12-22 |
5 |
550 |
550 |
560 |
296 |
|
350 |
14 |
787 |
505 |
460 |
16-22 |
5 |
550 |
550 |
640 |
3.5 |
|
.025 |
400 |
16 |
914 |
565 |
515 |
16-26 |
5 |
|
|
120 |
|

更多襯膠、襯氟隔膜閥的相關產品: