詳細內容:Y型快閉式止回閥概述:
Y型快閉式止回閥用于水泵出口處,在水泵停止時,起快速止回,防止水錘產生的作用。
Y型快閉式止回閥主要技術性能:
1. Y型快閉式止回閥主閥體采用Y型膜片式結構,密封副為非金屬密封;閥門一般要求水平安裝,與管道的連接形式為法蘭連接,法蘭連接尺寸按國家標準GB/T17241.6執行。
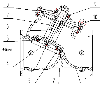
2. Y型快閉式止回閥由閥體、閥蓋、中心軸、銅套、閥座、閥瓣等主要零件組成,通過控制閥瓣的上下運動來實現閥門的啟閉。結構示意圖如圖1。

圖1 Y型快閉式止回閥結構示意圖
3. Y型快閉式止回閥具有水力自動控制特點,能與水泵聯鎖,在水泵停止時,起快速止回,防止水錘產生的作用。
4. Y型快閉式止回閥密封效果良好,保證閥門泄漏量為零泄漏。
5. Y型快閉式止回閥閥體采用Y形流線型結構,結構合理。
6. Y型快閉式止回閥可實現在線維修。
7. 鑄件采用先進的鑄造工藝鑄造,應有良好的表面涂漆,涂漆方式采用烤漆,涂漆顏色由買方確定。
Y型快閉式止回閥應用范圍
a)、適用于清水、原水(含泥砂)、污水、海水、油品等系統。
b)、工作壓力(MPa):PN1.0、1.6
c)、使用溫度:﹣10℃~130℃
d)、通徑:DN50~DN1000mm
e)、酸堿度:強酸、強堿濃溶液除外均可用(PH值在5-10之間)。
f)、產品主要零部件采用不銹鋼、球鐵。密封圈全部采用進口橡膠原料,根據溫度選用不同材料;且閥門主體內外腔經過環氧樹脂噴涂處理。耐磨損、防腐蝕、不易銹蝕,不會造成污染物生成,無放射性,不會影響和危害環境及破壞生態平衡。
Y型快閉式止回閥主要尺寸:

水力控制閥更多相關產品: